
阿牛巴流量計工作原理及計算公式
阿牛巴流量計是基于早期皮托管測速原理發展起來的,是60年代后期開發的一種新型差壓流量測量元件。阿牛巴流量計在電廠、石化、冶金、水處理、精細化工、環保等行業中廣泛應用。
一、特點
1、阿牛巴流量計可用于液體、氣體和蒸汽流量等各種介質流量測量;
2、阿牛巴流量計結構,壓力損失小,安裝、拆卸方便,維護量小;
3、適合大管道,和不規則管道的流量測量;
4、壓力損失小(與孔板相比較,僅為孔板的5%以下),大大減少了動力消耗,節能效果顯著。
5、一體化式結構,成套性好;
6、管道口徑適應范圍大,當管徑越大時,采用插入式結構,其優越性也愈突出;
7、準確度及長期運行穩定性好,準確度可達1%,穩定度可達±O.1%;
8、多參數智能變送,全動態溫壓自動補償。不受壓力溫度變化影響
9、現場指示、遠傳兼容,方便系統組建及入網。
10、開放式數字平臺,多用途串行接門。現場總線結構,HART通訊協議
二、主要技術參數
1、量程比20:1
2、通用管徑:8mm~8000mm;
3、測量精度:±1.0%;
4、重復精度:±0.1%;
5、工作壓力:0~40Mpa;
6、工作溫度:-100℃~800℃;
7、適用介質:空氣、煤氣、煙氣、天然氣、自來水、鍋爐給水、含腐溶液;飽和蒸汽、過熱蒸汽等
8、參照標準:ISO 3966-197、JB/T5325-1991及GB/T2624-2006
9、連接方式:插入式法蘭連接,插入式螺紋連接、管道式法蘭連接、管道式螺紋連接
三、結構形式
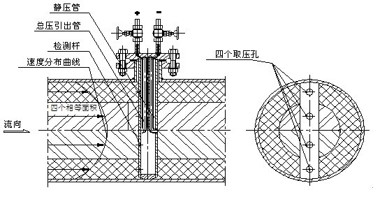
1、阿牛巴流量計由檢測桿、取壓口和導桿組成。阿牛巴的檢測管截面形狀分為圓形、菱形、橢圓形等多種結構。如圖所示。

二、阿牛巴流量計測量原理
阿牛巴流量計,它是一根沿直徑插入管道中的中空金屬桿,在迎向流體流動方向有成對的測壓孔,一般有兩對,其外形似笛。迎流面的多點測壓孔測量的是總壓,與全壓管相連通,引出平均全壓p1,背流面的中心處開有一只取壓孔,與靜壓管相通,引出靜壓p2。阿牛巴是利用測量流體的全壓與靜壓之差來測量流速。

上一篇:液體污水流量計的選型參考意見
版權所有 Copyright(©)2009-2011 江蘇力科儀表有限公司
電話號碼:0517-86909222 商務熱線:15305232668 傳真:0517-86909221
地址:江蘇省金湖縣工業園
技術支持:易品網站建設專家 蘇ICP備13047422號-2